PROF-80 @ Home - UNIO-1


UNIO-1 - die UNiverselle Input-Output-Karte

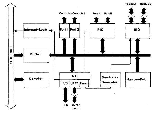
UNIO-1 ist eine vielseitige Multifunktionskarte für ECB-Bus-Systeme. Sie enthält praktisch alle Standard-Schnittstellen, die zum Anschluss von Peripheriegeräten benötigt werden. Es gibt zwei gepufferte Parallelschnittstellen nach Centronics-Norm, zwei serielle V24/RS232-Schnittstellen und eine serielle 20mA-Sromschleife. Die Baudraten lassen sich wahlweise über Steckbrücken oder per Software einstellen. Ein optionaler Spannungswandler auf der Karte erzeugt die erforderlichen +/- 12 Volt für die V24-Schnittstellen.
Zusätzlich stehen für Spezialanwendungen vier extern steuerbare Zeitgeber und 24 einzeln programmierbare, Interruptfähige I/O-Leitungen zur Verfügung. Auf einem Verdrahtungsfeld können Zusatzschaltungen aufgebaut werden. Die I/O-Leitungen bilden drei 8-Bit-Ports, von denen zwei mit interruptfähigen Handshake-Leitungen ausgestattet sind.
Alle Schnittstellen, die Zeitgeber und die I/O-Leitungen lassen sich im Z80-Vektor-Interruptmodus betreiben.



Fotos (Dank an Fritz!):
UNIO-1 - Bestückungsseite: UNIO-1 - Lötseite:
PROF-80
PROF-80

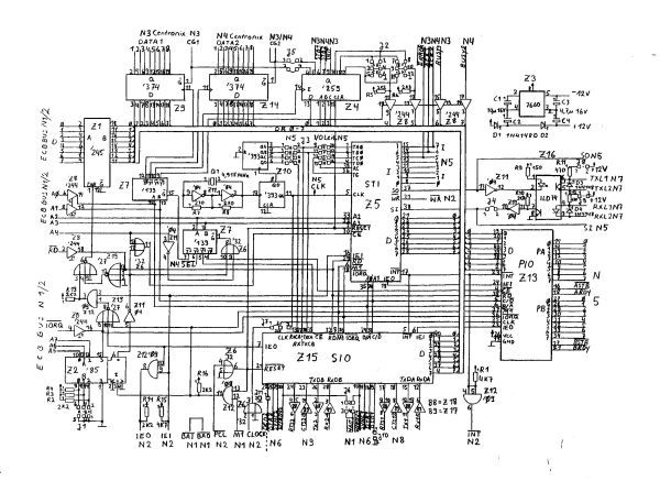
Blockschaltbild, Schaltplan:
UNIO-1 - Blockschaltbild: UNIO-1 - Schaltplan:
PROF-80
PROF-80

Bestückungsplan:
UNIO-1 - Bestückungsplan:
PROF-80


© 2026 · W. Robel, G. Chaudry, R. Rietscher & W. Kurtz e-Mail senden